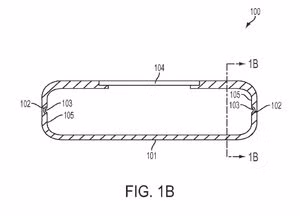
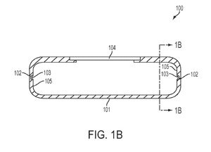
Tính năng bóp cạnh
Có vẻ như Apple muốn bắt chước tính năng bóp cạnh (Edge Sense) có trên flagship của HTC và Google Pixel 2. Đây là tính năng mà người dùng bóp vào cạnh máy theo các lực ấn khác nhau để để mở một ứng dụng hoặc kích hoạt một chức năng khác. Chẳng hạn như người dùng có thể bóp vào cạnh máy để mở camera.
![]() |
| 104 chính là "điểm tập trung" để người dùng có thể bóp cạnh máy (ảnh: Digital Trends) |
Trên bằng sáng chế của Apple có mô tả một vị trí gọi là “điểm tập trung” mềm. Khi người dùng bóp vào điểm này, nó sẽ biến dạng và kích hoạt các cảm biến bên dưới. Chưa rõ Apple muốn sử dụng điều này để kích hoạt Siri hay một chức năng nào khác.
Cần lưu ý rằng chức năng bóp cạnh trên điện thoại Google và HTC hoạt động theo một cách hơi khác – họ sử dụng các cảm biến áp suất được đặt dọc theo khung của thiết bị. Dường như Apple muốn thiết bị của mình có độ chính xác cao hơn, nhưng chúng tôi cũng cho rằng giải pháp của Google và HTC cũng rất tốt rồi.
Đèn flash “to đùng”
Qua các thế hệ iPhone, Apple đã tìm cách cải tiến đèn flash để có những tấm ảnh đẹp hơn. Đèn flash True Tone mà Apple gắn trên iPhone 5s bao gồm một đèn LED màu trắng và một đèn màu hổ phách để tạo ra ánh sáng cân bằng hơn. Đèn flash trên iPhone 7 được nâng cấp lên 4 chiếc LED để có nhiều ánh sáng hơn. Bây giờ, trên một bằng sáng chế vừa rò rỉ, có vẻ như Apple đang nghiên cứu một giải pháp cao cấp hơn.
![]() |
Điều hướng trong nhà
![]() |
Một bằng sáng chế khác cho thấy một giải pháp thú vị để điều hướng người dùng trong một không gian bên trong nhà, chẳng hạn như cửa hàng của Apple. Một mạng lưới các nút không dây sẽ được cài đặt trong cửa hàng. Khi điện thoại của người dùng di chuyển vào trong phạm vi các nút, hệ thống sẽ phát hiện ra chiếc điện thoại. Nó có thể ping riêng điện thoại và xác định chính xác vị trí người dùng bên trong cửa hàng. Sau đó, hệ thống sẽ dẫn đường cho người dùng đến đúng những khu vực mà họ muốn đến, giả định là thông qua ứng dụng dành riêng cho cửa hàng hoặc là ứng dụng nâng cấp từ Apple Map.
Giảm thiệt hại cho điện thoại khi rơi rớt
![]() |



