close Đăng nhập

Apple lộ bằng sáng chế tích hợp quét vân tay trên màn hình

VietTimes -- Văn phòng Sáng chế và Thương hiệu Hoa Kỳ (USPTO) hôm nay (15/2) đã tiết lộ một bằng sáng chế của Apple cho phép hãng này tích hợp máy quét vân tay trực tiếp vào màn hình iPhone.
Theo sáng chế này, điện thoại thông minh của Apple đọc dấu vân tay trực tiếp trên màn hình.
Theo sáng chế này, điện thoại thông minh của Apple đọc dấu vân tay trực tiếp trên màn hình.

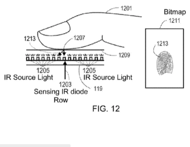
Nếu “Táo khuyết” áp dụng bằng sáng chế này thì mẫu iPhone thế hệ tiếp theo của hãng sẽ không sử dụng cảm biến để đọc dấu vân tay. Bằng sáng chế mà USPTO tiết lộ cho thấy Apple sử dụng công nghệ “màn hình hiển thị tương tác với đi-ốt hồng ngoại”. Nó cho phép điện thoại thông minh của Apple đọc dấu vân tay trực tiếp trên màn hình thay vì một máy quét được tích hợp vào nút Home.

Sáng chế này từng được đệ trình bởi công ty LuxVue vào năm 2014. Sau khi mua lại LuxVue, Apple đã sửa đổi và xin cấp lại bằng sáng chế hồi tháng Tư năm ngoái. Nội dung sáng chế mô tả: “các phương pháp và hệ thống sử dụng vi đi-ốt phát quang (micro LED) trong một màn hình ma trận động để phát sáng, và một đi-ốt cảm biến hồng ngoại để cảm nhận ánh sáng”.

Theo nguồn tin từ AppleInsider, Táo khuyết từ lâu đã tìm cách cải tiến cảm biến vân tay. Việc tích hợp cảm biến vân tay trực tiếp vào màn hình sẽ cho phép tiết kiệm không gian và tạo ra một thiết kế linh hoạt hơn.

Tin đồn về cảm biến vân tay và iPhone 8 đã được lan truyền từ khá lâu, nhưng cho đến nay Apple vẫn chưa hé lộ bất cứ thông tin và công nghệ gì sẽ áp dụng cho mẫu điện thoại kỷ niệm 10 năm ra mắt iPhone.

Theo The Verge

Tin công nghệ

Do Kwon (ảnh: Google)

Do Kwon đối mặt với bản án 40 năm tù

VietTimes – Do Kwon, người đồng sáng lập Terraform Labs, là kẻ chủ mưu đằng sau các loại tiền kỹ thuật số TerraUSD và Luna đã gây thiệt hại 40 tỉ USD cho rất nhiều nhà đầu tư.

Thể thao điện tử Việt Nam nhận huy chương vàng đầu tiên tại SEA Games 32.

Thể thao điện tử Việt Nam có huy chương vàng đầu tiên tại SEA Games 32

VietTimes – Chiều ngày 9/5, đội tuyển Thể thao điện tử Quốc gia Việt Nam đã vượt qua đội tuyển Thể thao điện tử Quốc gia Indonesia để đoạt ngôi quán quân tại nội dung đồng đội nam bộ môn Crossfire (Đột kích). Đây là huy chương vàng đầu tiên của thể thao điện tử Việt Nam tại SEA Games 32.