close Đăng nhập

Thêm 1 bằng sáng chế của Apple

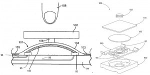
Cơ quan bản quyền Mỹ vừa duyệt bằng sáng chế của Apple cho việc dùng Liquidmetal làm nút home trên các thiết bị iOS. Công nghệ này có tác dụng như thế nào?
Thêm 1 bằng sáng chế của Apple

Bằng sáng chế mới của Apple

Bằng sáng chế cho biết việc sử dụng Liquidmetal – “khối hợp kim vô định hình hóa rắn” sẽ giúp nút home có độ chống ăn mòn cao, dễ dát mỏng, dễ uốn, tăng cường độ bền và độ chịu lực nhưng vẫn đảm bảo trọng lượng rất nhẹ. Khi nút home được chế tạo từ kim loại lỏng thì nó sẽ bị biến dạng khi người dùng nhấn vào, sau đó sẽ tự trở về trạng thái ban đầu khi thả ngón tay ra. Nếu được kết hợp với cảm biến lực và cảm biến uốn cong thì sẽ mở rộng thêm nhiều tính năng cho nút home.

Được biết đây là 1 trong số 40 bằng sáng chế mà cơ quan bản quyền Mỹ vừa cấp cho Apple, cho thấy hãng vẫn có mối quan tâm đặc biệt đối với công nghệ Liquidmetal. Từ năm 2010 đã có tin tức cho thấy sự chú ý của hãng tới công nghệ này, thậm chí hồi năm 2014 Apple được cho là đã tìm kiếm các nhà sản xuất khác để tập trung nghiên cứu. Các chuyên gia tại thời điểm đó cho rằng kim loại lỏng vẫn là công nghệ rất mới và có thể phải mất tới 5 năm mới phổ biến được. Tất nhiên hiện chúng ta vẫn chưa biết chính xác kế hoạch sử dụng công nghệ này trên những sản phẩm trong tương lai, có thể là trên iPhone 7, 7s hay thậm chí là xa hơn?

Tham khảo: USTPO

Theo: Tạp chí Công nghệ

Tin công nghệ

Do Kwon (ảnh: Google)

Do Kwon đối mặt với bản án 40 năm tù

VietTimes – Do Kwon, người đồng sáng lập Terraform Labs, là kẻ chủ mưu đằng sau các loại tiền kỹ thuật số TerraUSD và Luna đã gây thiệt hại 40 tỉ USD cho rất nhiều nhà đầu tư.

Thể thao điện tử Việt Nam nhận huy chương vàng đầu tiên tại SEA Games 32.

Thể thao điện tử Việt Nam có huy chương vàng đầu tiên tại SEA Games 32

VietTimes – Chiều ngày 9/5, đội tuyển Thể thao điện tử Quốc gia Việt Nam đã vượt qua đội tuyển Thể thao điện tử Quốc gia Indonesia để đoạt ngôi quán quân tại nội dung đồng đội nam bộ môn Crossfire (Đột kích). Đây là huy chương vàng đầu tiên của thể thao điện tử Việt Nam tại SEA Games 32.