
Gần đây, một số nguồn tin từ Hàn Quốc khẳng định Samsung sẽ phát hành chiếc điện thoại Galaxy X với màn hình có thể gập trong năm 2018. Trước đó, LG và Apple cũng đã "rục rịch" tham gia vào thị trường mới mẻ này.
Và cái tên mới nhất có ý định với điện thoại có thể gập là Nokia, "vị vua" một thời của làng di động thế giới.
Thông tin bắt nguồn từ một bằng sáng chế "thiết bị có thể gập" của Nokia được US Patent & Trademark Office (USPTO: Cơ quan cấp bằng sáng chế của Mỹ) cấp. Theo đó, Nokia đã nộp hồ sơ từ năm 2013 và được USPTO chấp thuận hồi tháng Chín năm ngoái. Năm 2005, Nokia cũng từng xin cấp bằng sáng chế cho một ý tưởng tương tự.
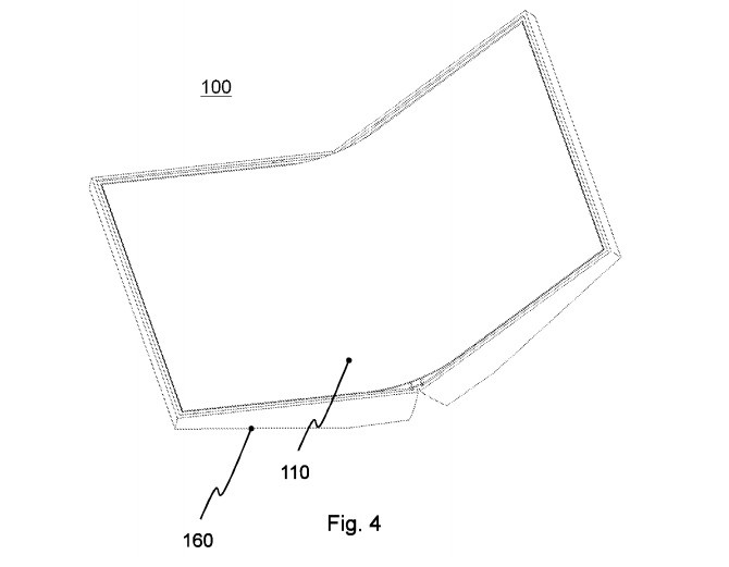
Những hình ảnh minh họa từ hồ sơ bằng sáng chế gợi ý về một thiết bị có thiết kế giống như gương bỏ túi. Nó gồm 2 phần tương đương nhau và kết nối lại bằng một bản lề. Thay vì sử dụng 2 màn hình, thiết bị sử dụng một màn hình linh hoạt (có thể uốn dẻo hoặc gập lại) duy nhất nằm phía trên bản lề.
Đây là cách Nokia muốn mang đến cho người dùng một thiết bị có màn hình từ 6 inch trở lên nhưng lại có kích thước vừa vặn để bỏ túi.
Dù vậy, đây mới chỉ là ý tưởng của Nokia và việc nó có trở thành hiện thực hay không lại là một vấn đề hoàn toàn khác. Không riêng gì Nokia mà cả Apple, Samsung, LG… đều có rất nhiều bằng sáng chế thiết bị và phần nhiều trong số đó không bao giờ trở thành sản phẩm trên thực tế.
Theo Diễn đàn Đầu tư