VietTimes – Bút Spen là một linh kiện đặc trưng của dòng Galaxy Note. Samsung đang thực hiện những cải tiến để bút Spen ngày một mạnh mẽ hơn. Trang công nghệ Patently Mobile vừa hé lộ một thông tin cho biết bút Spen sẽ được tích hợp camera.
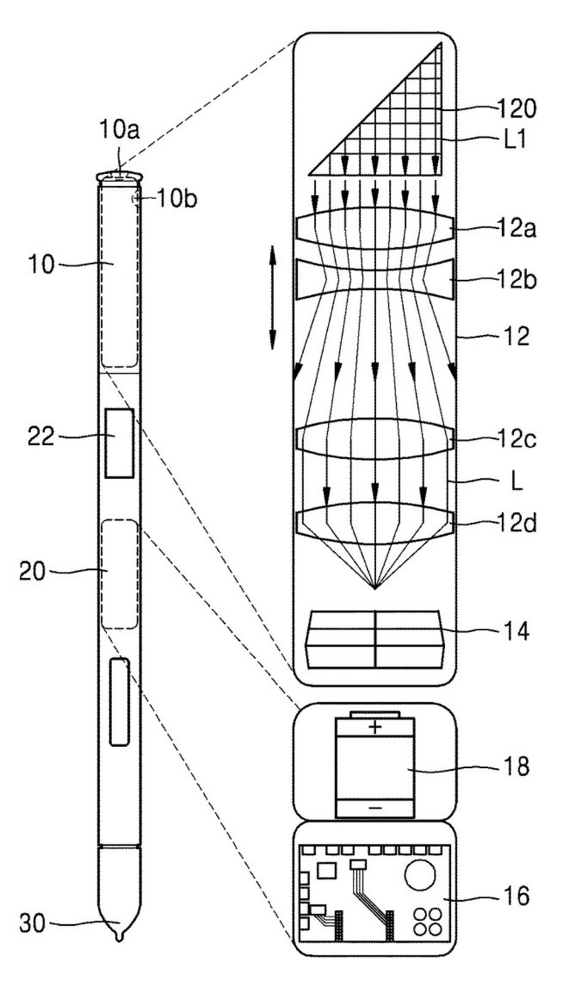
Một bằng sáng chế được Samsung đệ trình lên Văn phòng Thương hiệu và Bằng sáng chế Hoa Kỳ (USPTO) cho thấy những hình vẽ kỳ lạ liên quan đến chiếc Galaxy Note phiên bản kế tiếp. Có vẻ như Samsung không muốn sử dụng thiết kế màn hình có mấu đen (notch) cũng như màn hình đục lỗ. Mặc dù màn hình không còn chỗ chứa camera trước, nhưng người dùng vẫn có thể chụp ảnh tự sướng được. Đó là vì nhà sản xuất Hàn Quốc đã thực hiện một số thay đổi quan trọng với bút Spen.
Hình vẽ trong bằng sáng chế cho thấy Spen sẽ được tích hợp ít nhất một ống kính và một cảm biến hình ảnh. Camera tích hợp bên trong bút sẽ được điều khiển thông qua một nút bấm trên thân bút. Một nút bấm đặt ở vị trí thấp hơn sẽ cho phép người dùng điều khiển chụp xa gần (zoom).
Bút Spen là một thiết bị không thể thiếu được của dòng Galaxy Note. Tuy nhiên, chưa rõ chiếc Spen có tích hợp camera sẽ thuộc phiên bản Galaxy Note nào. Hơn nữa, dù việc tích hợp camera sẽ tăng tính hữu dụng cho Spen, nhưng chưa chắc Samsung đã từ bỏ camera selfie trên điện thoại. Chúng ta chỉ có thể dự đoán rằng chiếc Spen tương lai sẽ cho phép người dùng chụp ảnh mà không cần sử dụng điện thoại.
VietTimes – Google vừa tổ chức sự kiện I/O 2023, trong đó công ty đã dành một lượng lớn thời gian để thuyết trình về cách AI sẽ thúc đẩy các nền tảng của Google.
VietTimes – iPhone được cho là thiết bị đưa điện thoại thông minh trở thành xu hướng chủ đạo, nhưng Apple đã phải mất vài năm để trở thành nhà sản xuất điện thoại số một ở Bắc Mỹ.
VietTimes – Nếu bạn sử dụng YouTube thường xuyên, có thể bạn đã nhận được thông báo rất khó chịu rằng video bạn muốn xem không khả dụng ở quốc gia/khu vực của bạn
VietTimes – Tính năng sao lưu, giao diện người dùng, kết nối vệ tinh là những điều mà người dùng mong muốn được nhìn thấy trên các mẫu smartphone Android trong năm 2023.
VietTimes – Năm 2022, chúng ta đã được chứng kiến sự ra đời của rất nhiều phát kiến tuyệt vời, tuy nhiên bên cạnh đó vẫn tồn tại một số thiết bị điện tử không hoàn toàn phát huy được hết tiềm năng.
VietTimes – Không chỉ Apple gặp vấn đề với các mẫu điện thoại màn hình lớn, dòng Galaxy S Plus của Samsung cũng phải đối mặt với trình trạng doanh số đáng thất vọng.
VietTimes – Trong số tất cả những chiếc iPhone xuất hiện trong năm nay, iPhone 14 Plus là sản phẩm hoàn toàn khác biệt: hoạt động kém nhất xét về mặt thương mại.
VietTimes – Mặc dù các phương tiện truyền thông luôn ca ngợi máy Mac sử dụng chip của Apple (Mac M1, Mac M2), nhưng vẫn có một số điểm khiến người dùng cảm thấy khó chịu.
VietTimes – Smartphone màn hình gập đang ngày một phổ biến kể từ khi ra mắt lần đầu vào năm 2019. Tuy nhiên, chúng vẫn còn lâu mới đạt tới trạng thái hoàn hảo.