close Đăng nhập

iPhone Flip: Đến khi nào Apple mới bước chân vào cuộc đua smartphone màn hình gập?

VietTimes – Smartphone gập đã tồn tại được vài năm nhưng mới chỉ có một số công ty nhảy vào cuộc chơi này, trong đó có Samsung, Huawei, Vivo

iPhone Flip: Đến khi nào Apple mới bước chân vào cuộc đua smartphone màn hình gập? (Ảnh: Android Authority)
iPhone Flip: Đến khi nào Apple mới bước chân vào cuộc đua smartphone màn hình gập? (Ảnh: Android Authority)

Cuộc đua về những chiếc smartphone gập đang nóng lên từng ngày khi Motorola và Google đã gia nhập cuộc đua. Vậy với Apple thì sao?

Tin đồn về cái gọi là iPhone Flip đã tồn tại được một thời gian, nhưng có rất ít chi tiết cụ thể về kế hoạch của Apple.

Apple hiện đang phát triển một chiếc iPhone có thể gập lại?

iPhone Flip 1.png
Apple hiện đang phát triển một chiếc iPhone có thể gập lại? (Ảnh: Android Authority)

Apple chưa bình luận nhiều về kế hoạch phát triển công nghệ màn hình gập. Tuy nhiên, có một số dấu hiệu cho thấy Apple đang tỏ ra quan tâm đến thị trường màn hình gập. Những năm qua, Apple đã nộp một số bằng sáng chế liên quan đến công nghệ điện thoại có thể gập lại, điều này cho thấy rõ rằng công ty ít nhất đang tích cực thử nghiệm ý tưởng này. Tất nhiên, các công ty thường nộp bằng sáng chế mới để bảo vệ lợi ích của mình. Chỉ một phần nhỏ trong số các bằng sáng chế này được đưa vào sản phẩm thương mại.

Ngoài các bằng sáng chế, chúng ta còn nghe thấy một số tin đồn cho rằng Apple không chỉ đang thử nghiệm các kiểu dáng mới mà thậm chí còn nghiên cứu các ý tưởng mới để bảo vệ điện thoại tốt hơn. Một trong những khái niệm mới lạ hơn là tính năng tự động phát hiện khi điện thoại bị rơi. Sau đó, điện thoại sẽ ngay lập tức tự động đóng bản lề. Chưa rõ tính năng này có thực sự được đưa vào các sản phẩm thương mại hay không nhưng về cơ bản thì đây là một ý tưởng tuyệt vời.

Rõ ràng, chúng ta không biết iPhone màn hình gập sẽ trông như thế nào, nhưng có một số tin đồn và bằng sáng chế giúp chúng ta phác họa được phần nào iPhone Flip (nếu Apple thực sự đang phát triển nó).

Chiếc iPhone màn hình gập sẽ trông như thế nào?

iPhone Flip 1.png
Chiếc iPhone màn hình gập sẽ trông như thế nào? (Ảnh: Android Authority)

Nhà phân tích Ming-Chi Kuo tuyên bố Apple đang thử nghiệm nhiều kích cỡ màn hình khác nhau, bao gồm cả màn hình 9 inch có thể gập lại. Tuy nhiên, sản phẩm này có thể sẽ được gắn nhãn hiệu iPad chứ không phải iPhone. Ngoài ra, Kuo cho biết công ty đang nghiên cứu một chiếc iPhone có thể gập lại với màn hình lớn tới 8 inch. Nó chỉ lớn hơn một chút so với màn hình 7,3 inch trên Samsung Galaxy Fold 4. Nó cũng lớn gần bằng iPad Mini 8,3 inch. Cũng có tin đồn rằng LG có thể đang hợp tác với Apple để thử nghiệm tấm nền 7,5 inch OLED nhỏ hơn.

Đến thời điểm hiện tại vẫn chưa thể chắc chắn được việc Apple có đang phát triển một loại iPhone có thể gập lại giống như những gì Fold 4 hay Flip 4 đang làm được hay không. Hiện tại, chỉ mới có những thông tin cho biết Apple đang sở hữu những bằng sáng chế về một chiếc điện thoại gập mà thôi. Ngoài ra, Apple còn có bằng sáng chế cho một thứ giống như Microsoft Surface Duo.

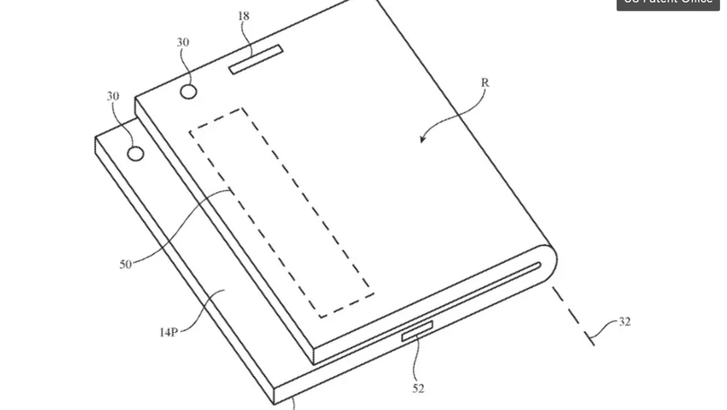
iPhone Flip 2.png
Bằng sáng chế của Apple về một thiết bị có thể gập lại (Ảnh: Android Authority)

Apple luôn được đánh giá là “người đi đầu” trong lĩnh vực công nghệ. Ở bức ảnh trên, có thể thấy Apple đang sở hữu một bằng sáng chế của một chiếc điện thoại có khả năng gập làm đôi, nhưng 2 mặt màn hình lại có kích thước khác nhau. Những bằng sáng chế cho thấy Apple cũng đang phần nào quan tâm đến những chiếc điện thoại gập. Apple thậm chí còn có bằng sáng chế cũ hơn cho thiết bị có thể gập có 3 màn hình cùng với đó là một bằng sáng chế cho thiết bị có thể gắn màn hình phụ thông qua nam châm.

Đến bao giờ Apple mới cho ra mắt iPhone Flip?

Năm ngoái đã xuất hiện những tin đồn cho rằng Apple sẽ cho phát hành chiếc iPhone màn hình gập của hãng vào năm 2023. Tuy nhiên theo các chuyên gia thì chiếc iPhone Flip sẽ được ra mắt sớm nhất là vào năm sau. Chuyên gia Ming-Chi Kuo lại cho rằng Apple sẽ cho ra mắt chiếc điện thoại gập của mình vào năm 2025 hoặc có thể lâu hơn. Và nếu Apple thực sự cho ra mắt thiết bị màn hình gập của mình thì nhiều khả năng nó sẽ không được gắn mác iPhone.

Apple có thể muốn để thị trường “trưởng thành” trước khi sản xuất iPhone màn hình gập

iPhone Flip 3.png
Apple có thể muốn để thị trường “trưởng thành” trước khi sản xuất iPhone màn hình gập (Ảnh: Android Authority)

Apple thường tỏ ra thận trọng khi áp dụng những công nghệ mới lên sản phẩm của mình. Công ty làm điều này vì nhiều lý do. Thứ nhất, chi phí để tích hợp một công nghệ mới lên một thiết bị nào đó là rất cao. Nếu Apple nhảy vào cuộc chơi màn hình gập sớm như Samsung, chiếc điện thoại này có thể sẽ đắt hơn đối thủ hàng trăm USD. Thứ hai, công nghệ mới thường chứa đựng rất nhiều rủi ro. Mặc dù thiết bị gập của Samsung đã được cải thiện đáng kể nhưng vẫn có báo cáo từ một số người dùng về việc bụi lọt vào điện thoại, màn hình mỏng manh dễ vỡ, bản lề bị cong khi rơi và các khiếu nại tương tự khác.

Apple thường đợi cho đến khi các công nghệ mới này “ổn định” hoặc đủ phổ biến rồi mới bắt đầu phát triển. Apple có xu hướng chỉ chọn những danh mục sản phẩm mà họ tin rằng sẽ có sức mạnh bền vững. Ví dụ, cách đây hơn một thập kỷ, nhiều người cho rằng Apple thật điên rồ khi không dấn thân vào lĩnh vực netbook. Tầm nhìn xa cho chúng ta biết họ đã đúng khi không tham gia vào cuộc chơi này. Với ý nghĩ đó, một chiếc iPad có thể gập lại sẽ là lựa chọn đầu tiên an toàn hơn nhiều.

Các báo cáo cho thấy một chiếc iPad có thể gập lại sẽ ra mắt vào năm tới

iPhone Flip 4.png
Các báo cáo cho thấy một chiếc iPad có thể gập lại sẽ ra mắt vào năm tới (Ảnh: Android Authority)

Nhà phân tích Ming-Chi Kuo đã báo cáo vào đầu năm nay rằng iPad Mini với màn hình có thể gập lại với phần khung viền carbon có thể xuất hiện vào năm 2024. Cũng có tin đồn cho thấy Apple đang thử nghiệm một thiết bị có thể gập lại có kích thước lên tới 20 inch. Ngay cả Samsung cũng được cho là đã quan tâm đến khả năng tạo ra một chiếc máy tính bảng có thể gập lại.

Hiện vẫn chưa rõ liệu đây có phải là một chiếc iPad thông thường hay nó sẽ được coi là một chiếc iPad lai có thể hoạt động như một chiếc điện thoại truyền thống với hỗ trợ gọi điện đầy đủ.

Theo Android Authority

androidauthority.com

Hạ tầng số

Trang web giả mạo datlichbhxh[.]com có giao diện tương tự trang chính thức. Ảnh: BHXHVN

Cảnh báo website giả mạo BHXH Việt Nam

BHXH Việt Nam vừa phát đi cảnh báo về việc xuất hiện website giả mạo, lợi dụng hình thức “đặt lịch làm việc” để thu thập thông tin cá nhân, lừa đảo và chiếm đoạt tài sản.

Công ước Hà Nội

Công ước Hà Nội được thực thi như thế nào?

Hôm nay, Lễ mở ký Công ước Liên hợp quốc chống tội phạm mạng (Công ước Hà Nội) được mở ký tại Hà Nội. Nội dung chính, cơ chế thực thi và ý nghĩa đối với phòng chống tội phạm mạng là những điều được nhiều người quan tâm.

ChatGPT Atlas. Ảnh: TechStock

Cách tải ChatGPT Atlas cho macOS và lưu ý khi cài đặt

OpenAI vừa cho ra mắt trình duyệt trí tuệ nhân tạo có tên là Atlas, kết hợp giữa khả năng duyệt web thông minh và trợ lý ảo cá nhân. Trình duyệt này ngay lập tức đã gây xôn xao cộng đồng mạng. Dưới đây là cách tải và cài đặt ChatGPT Atlas.

Màn hình chính của ứng dụng Canva

Cách tải thêm font chữ vào Canva trên Macbook và laptop Windows

Canva là một công cụ thiết kế trực tuyến tiện dụng dành cho những người không chuyên. Tuy nhiên, bộ font gốc của Canva hỗ trợ tiếng Việt chưa tốt. Vì thế, để có những font đẹp, hỗ trợ tốt tiếng Việt, bạn cần cài đặt thêm các bộ font từ bên ngoài