Bằng sáng chế của Apple có tên “Touch-Based Input For Stylus” mô tả cách đặt các cảm biến vào bút cảm ứng với phản hồi xúc giác "tại vị trí cầm bút tự nhiên của người dùng".
Cụ thể, cảm biến cảm ứng có thể nhận diện một chạm, 2 chạm, 3 chạm hoặc những cử chỉ chạm của người dùng. Ví dụ, khi người dùng chạm ngón tay vào khu vực cầm bút, bút cảm ứng có thể nhận diện lệnh được gọi bởi cảm biến cảm ứng... Một hoặc nhiều lần chạm có thể hiểu là nhiều hành động khác nhau (ví dụ như thay đổi màu sắc, kích cỡ nét vẽ, hình dạng...). Ngoài ra, một hoặc nhiều lần chạm có thể hiểu là đầu vào để thực hiện chức năng trên thiết bị gắn ngoài như sao chép, dán, hoàn tác".
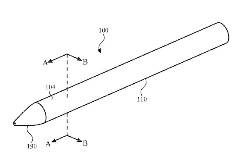
![]() |
| Hình ảnh mô tả Apple Pencil theo bằng sáng chế mới của Apple. Ảnh: Phone Arena |
Bên cạnh đó, chiếc bút cảm ứng có thể sẽ được trang bị thêm một cảm biến điện dung nhằm nhận diện được các thao tác vô ý của người dùng. Để đảm bảo chiếc bút được trang bị đầy đủ tính năng, Apple đã đưa vào đó khá nhiều thứ như vi xử lý, bộ nhớ, các cổng kết nối, phím bấm vật lý,…
Apple Pencil trong tương lai có thể được trang bị một máy quét dấu vân tay có khả năng dùng để xác minh thông tin đối với Apple Pay, lịch sử mua hàng trên App Store hoặc tại ngân hàng khi sử dụng phụ kiện. Bằng sáng chế cũng đề cập đến một camera được gắn bên trong Apple Pencil bên cạnh các cảm biến, mặc dù ý tưởng này cũng đã được đề cập trong các bằng sáng chế trước đây của hãng.
![]() |
| Ảnh: Phone Arena |
Như thường lệ, khi xuất hiện bằng sáng chế từ bất kỳ công ty công nghệ nào, chúng ta vẫn chưa thể chắc chắn về việc khi nào chúng ta sẽ thấy các tính năng mới này xuất hiện trên những sản phẩm cụ thể. Hi vọng, chúng ta có thể sớm thấy những tính năng mới của Apple Pencil được tích hợp trên các phiên bản iPhone tương lai thậm chí là TV hay Apple Watch.
Theo Gizchina, Phone Arena

