close Đăng nhập

Bằng sáng chế của Microsoft hé lộ mẫu Surface Phone lạ mắt

VietTimes – Từ đầu năm đến nay, chúng ta đã được thấy một số bằng sáng chế của Microsoft đề cập đến mẫu điện thoại Surface Phone bí ẩn. Bằng sáng chế mới nhất vừa được hé lộ hôm 10/8 cho thấy một thiết bị Surface Phone lạ mắt có bộ vỏ kim loại kiêm vai trò của ăng ten.
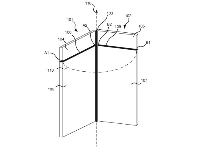
Hình vẽ mô tả mẫu điện thoại có thể gập đôi, vỏ kim loại kiêm chức năng ăng ten của Microsoft (ảnh Phona Arena)
Hình vẽ mô tả mẫu điện thoại có thể gập đôi, vỏ kim loại kiêm chức năng ăng ten của Microsoft (ảnh Phona Arena)

Thực ra bằng sáng chế nói trên đã được Microsoft đệ trình cho Văn phòng Sáng chế và Thương mại Mỹ từ tháng 2 năm ngoái. Bằng sáng chế này có tiêu đề là “Vỏ thiết bị đóng vai trò là ăng ten cho thiết bị”. Nó mô tả một thiết bị với lớp vỏ bằng kim loại kiêm chức năng ăng ten thu sóng.

Thiết bị này có thể gập đôi nhờ một bản lề ở giữa. Vì bộ kim loại kiêm luôn chức năng ăng ten nên sẽ không xảy ra tình trạng mất sóng. Các loại smartphone thông thường sử dụng các đường ăng ten chạy quanh thân máy. Khi người dùng cầm máy sai cách che mất phần ăng ten, tín hiệu sẽ bị giảm sút và có thể gây mất sóng.

Người đứng đằng sau bằng sáng chế của Microsoft là ông Antti Karilainen. Ông là một chuyên gia về ăng ten và RF, người đã từng làm việc cho một số dự án ăng ten và thiết bị di động của Microsoft. Một trong số các dự án này là tạo ra các loại ăng ten di động cho thiết bị tương lai.

Mặc dù nhiều chuyên gia công nghệ cho rằng Microsoft đã “buông” mảng điện thoại thông minh, nhưng bằng sáng chế vừa hé lộ cho chúng ta thấy Microsoft chưa từ bỏ tham vọng. Rất có thể một chiếc Surface Phone sẽ xuất hiện vào cuối năm 2018, đầu năm 2019. 

Tin công nghệ

Do Kwon (ảnh: Google)

Do Kwon đối mặt với bản án 40 năm tù

VietTimes – Do Kwon, người đồng sáng lập Terraform Labs, là kẻ chủ mưu đằng sau các loại tiền kỹ thuật số TerraUSD và Luna đã gây thiệt hại 40 tỉ USD cho rất nhiều nhà đầu tư.

Thể thao điện tử Việt Nam nhận huy chương vàng đầu tiên tại SEA Games 32.

Thể thao điện tử Việt Nam có huy chương vàng đầu tiên tại SEA Games 32

VietTimes – Chiều ngày 9/5, đội tuyển Thể thao điện tử Quốc gia Việt Nam đã vượt qua đội tuyển Thể thao điện tử Quốc gia Indonesia để đoạt ngôi quán quân tại nội dung đồng đội nam bộ môn Crossfire (Đột kích). Đây là huy chương vàng đầu tiên của thể thao điện tử Việt Nam tại SEA Games 32.