close Đăng nhập
Ảnh minh họa

Microsoft Trung Quốc vô tình xác nhận sự tồn tại của Surface Phone

Surface Phone - một trong những thiết bị được trông chờ nhất từ Microsoft - dù đã có một loạt các tin đồn và bằng sáng chế cho thấy rõ ràng Microsoft đang phát triển một thiết bị có màn hình gập như vậy, nhưng từ trước đến nay gã khổng lồ phần mềm vẫn chưa bao giờ lên tiếng khẳng định về thiết bị này.
Đây chính là Surface Phone mà Microsoft đang bí mật phát triển? (ảnh: Windows Report)

Kỹ sư Microsoft ở Trung Quốc vô tình hé lộ về điện thoại Surface

VietTimes – Trong thời gian gần đây, Micosoft đã vô tình hé lộ một bằng sáng chế về một mẫu máy tính bảng gập đôi có chức năng như chiếc smartphone. Một số người cho rằng đây chính là chiếc Surface Phone đồn đoán bấy lâu nay. Hôm qua, một kỹ sư của Microsoft vô tình đưa ra tin tức rằng Surface Phone là có thật.
Hình vẽ mô tả mẫu điện thoại có thể gập đôi, vỏ kim loại kiêm chức năng ăng ten của Microsoft (ảnh Phona Arena)

Bằng sáng chế của Microsoft hé lộ mẫu Surface Phone lạ mắt

VietTimes – Từ đầu năm đến nay, chúng ta đã được thấy một số bằng sáng chế của Microsoft đề cập đến mẫu điện thoại Surface Phone bí ẩn. Bằng sáng chế mới nhất vừa được hé lộ hôm 10/8 cho thấy một thiết bị Surface Phone lạ mắt có bộ vỏ kim loại kiêm vai trò của ăng ten.
Microsoft đang nghiên cứu sản xuất Surface Phone?

Microsoft được cấp bằng sáng chế cho Surface Phone?

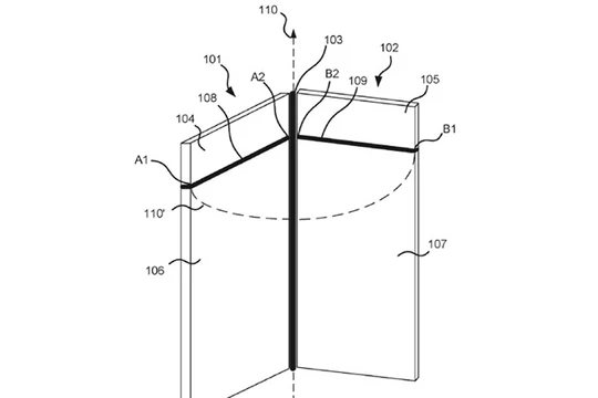
VietTimes -- Tuần trước, Microsoft đã nhận được một bằng sáng chế mới cho một thiết bị cầm tay có thể gập lại. Nó đã làm dấy lên tin đồn rằng Microsoft đang phát triển chiếc điện thoại Surface Phone vốn được mọi ngươi mong đợi từ lâu.