close Đăng nhập

Rò rỉ hình ảnh máy tính bảng có thể gập lại của Microsoft

VietTimes -- Một bằng sáng chế vừa bị rò rỉ của Microsoft đã hé lộ hình ảnh về một mẫu máy tính bảng có thể gập lại được mà hãng này đang âm thầm phát triển.
Hình ảnh trong bằng sáng chế của Microsoft
Hình ảnh trong bằng sáng chế của Microsoft

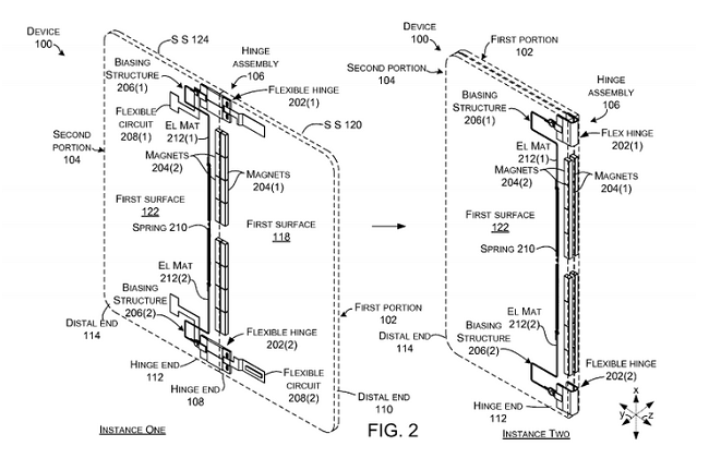
Hình ảnh trên bằng sáng chế cho thấy thiết bị có kích thước giống với một chiếc điện thoại hơn là một chiếc máy tính bảng. Một bản lề khá phức tạp cho phép máy tính bảng cung cấp giao diện ở 3 góc độ: ở 0 độ, máy tính bảng ở trạng thái đóng, ở 180 độ, thiết bị trong trạng thái mở phẳng, và ở 360 độ nó hoàn toàn trong trạng thái mở.

Khi ở góc 180 độ, màn hình bên trong hiển thị một giao diện người dùng đơn lẻ. Trong các góc mở khác, mỗi màn hình sẽ hiển thị giao diện riêng của nó. Khi được mở ở góc độ 180 độ, việc sử dụng nam châm sẽ cho phép màn hình hiển thị liền mạch.

Rò rỉ hình ảnh máy tính bảng có thể gập lại của Microsoft ảnh 1 Rò rỉ hình ảnh máy tính bảng có thể gập lại của Microsoft ảnh 2

Theo một số suy đoán thì thiết bị sẽ chạy Windows 10, mặc dù cũng có thể thiết bị thậm chí sẽ chẳng bao giờ được "nhìn thấy ánh sáng mặt trời". Thật thú vị là Microsoft cũng từng giới thiệu một chiếc máy tính bảng có thể gập được trong một video năm 2009.

Tin công nghệ

Do Kwon (ảnh: Google)

Do Kwon đối mặt với bản án 40 năm tù

VietTimes – Do Kwon, người đồng sáng lập Terraform Labs, là kẻ chủ mưu đằng sau các loại tiền kỹ thuật số TerraUSD và Luna đã gây thiệt hại 40 tỉ USD cho rất nhiều nhà đầu tư.

Thể thao điện tử Việt Nam nhận huy chương vàng đầu tiên tại SEA Games 32.

Thể thao điện tử Việt Nam có huy chương vàng đầu tiên tại SEA Games 32

VietTimes – Chiều ngày 9/5, đội tuyển Thể thao điện tử Quốc gia Việt Nam đã vượt qua đội tuyển Thể thao điện tử Quốc gia Indonesia để đoạt ngôi quán quân tại nội dung đồng đội nam bộ môn Crossfire (Đột kích). Đây là huy chương vàng đầu tiên của thể thao điện tử Việt Nam tại SEA Games 32.