close Đăng nhập

Mazda nộp đơn xin cấp bằng sáng chế cho động cơ “Triple-Charged”

VietTimes – Theo trang tin “Road and Track”, Mazda đã nộp đơn xin cấp bằng sáng chế cho một loại động cơ mới của mình với khả năng “Triple-Charged”. Theo đó, động cơ này sử dụng tới ba hệ thống tăng lực, bao gồm hai hệ thống tăng áp “turbo” và một hệ thống siêu nạp chạy điện “electric supercharge”.
Động cơ mới của Mazda (Ảnh: roadandtrack.com)
Động cơ mới của Mazda (Ảnh: roadandtrack.com)
Ảnh: roadandtrack.com

Vào đầu tháng này, Mazda thông báo kế hoạch đưa vào sản xuất hàng loạt loại động cơ mới mang tính cách mạng của mình là SkyActive-X với công nghệ HCCI (Homogenous Charge Compression Ignition). Đây là loại động cơ chạy xăng vô cùng đặc biệt bởi nó không cần đến bugi để đánh lửa và dựa vào sức nén – cơ chế tương tự những động cơ diesel. Tuy nhiên, đây không phải là công nghệ tiên tiến duy nhất và Mazda đang phát triển.

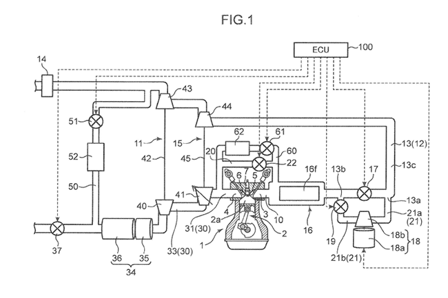
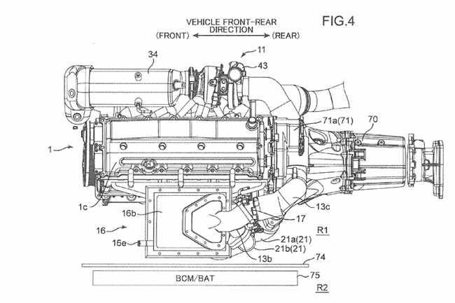
Theo trang tin “Road and Track”, Mazda đã nộp đơn xin cấp bằng sáng chế cho một loại động cơ mới của mình với khả năng “Triple-Charged”. Theo đó, động cơ này sử dụng tới ba hệ thống tăng lực, bao gồm hai hệ thống tăng áp “turbo” và một hệ thống siêu nạp chạy điện “electric supercharger”. Những bản vẽ của về động cơ này đã được đăng tải trên trang web của Cơ quan sáng chế và nhãn hiệu Hoa Kỳ (USPTO).

Mazda nộp đơn xin cấp bằng sáng chế cho động cơ “Triple-Charged” ảnh 2Ảnh: roadandtrack.com

Theo những chú thích trong hình vẽ, hệ thống siêu nạp chạy điện “electric supercharger” sẽ đảm nhận việc cung cấp năng lượng ở mức thấp, trong khi hai hệ thống tăng áp turbocharger sẽ là những thứ “tăng lực” chủ đạo cho động cơ. Loại động cơ này khá tương đồng với ý tưởng về khối động cơ 2,0 lít 4 xi-lanh được phát triển bởi Volvo. Nguyên mẫu động cơ của Volvo đã đạt công suất tối đa lên tới 450 mã lực.

Mazda nộp đơn xin cấp bằng sáng chế cho động cơ “Triple-Charged” ảnh 3Ảnh: roadandtrack.com

Nếu như động cơ của Volvo sử dụng một hệ thống điện 48 volt để cấp năng lượng cho hệ thống siêu nạp thì Mazda lại sử dụng một cơ chế khác. Bozi Tatarevic – một thành viên sáng lập “Truth About Cars”, hệ thống siêu nạp chạy điện trên động cơ mới của Mazda sẽ được cung cấp năng lượng từ hệ thống i-Eloop – một hệ thống được tích hợp trên Mazda 6 có khả năng chuyển hóa nhiệt năng từ phanh xe thành điện năng và được tích trữ tại một siêu tụ điện. Từ đó, điện năng sẽ được cung cấp cho các hệ thống chạy điện khác nhau trên xe. Và tất nhiên, hệ thống siêu nạp chạy điện cũng có thể sử dụng nguồn điện năng này.

Điều thú vị từ bản vẽ của khối động cơ này nằm ở chỗ nó được kết hợp với hệ thống dẫn động cầu sau. Và với những fan của Mazda cũng như những người có niềm đam mê với những “con ngựa bốn bánh”, họ sẽ liên tưởng tới mẫu xe thể thao rất “hot” là Mazda MX-5 Miata bởi đây là chiếc xe duy nhất của Mazda sử dụng hệ thống dẫn động cầu sau.

Sẽ không ít người cho rằng Mazda MX-5 Miata thế hệ mới sẽ được trang bị khối động cơ khủng “Triple-Charged” này, mặc dù chưa có gì chắc chắn rằng động cơ mới này sẽ được đưa vào sản xuất hàng loạt. Cũng không có gì khẳng định rằng động cơ mới này có liên quan tới SkyActive –X mặc dù Mazda xác nhận việc SkyActive-X sẽ đi kèm hệ thống siêu nạp. Dù gì đi nữa, ý tưởng về động cơ mới này của Mazda vẫn rất thú vị và đáng để chờ đợi.

Xe

Ảnh: Yahoo

Huawei tăng sự hiện diện trong ngành sản xuất xe điện

VietTimes – Huawei đang hợp tác với nhiều nhà sản xuất ô tô để cung cấp phần mềm cho các mẫu xe điện thương hiệu Aito. Theo các chuyên gia, đây là động thái nhằm mở rộng sự hiện diện của gã khổng lồ này trong ngành ô tô.
Indonesia đang trong cuộc đua giành khoản đầu tư của Tesla

Elon Musk sẽ đặt nhà máy Tesla tiếp theo tại Đông Nam Á?

Tổng thống Indonesia Joko Widodo tự tin Tesla sẽ hoàn tất thoả thuận đầu tư 1 cơ sở sản xuất tại quốc đảo này sau khi ông đề nghị ưu đãi giảm thuế và nhượng bộ khai thác các mỏ niken, nguyên liệu chính trong sản xuất pin điện