Theo 2 bằng sáng chế được Văn phòng Bằng sáng chế và Thương hiệu Hoa Kỳ đã cấp cho Táo khuyết, Apple có thể sẽ trang bị ống kính tele tiềm vọng cho iPhone trong tương lai.
Điều này nghe có vẻ quen thuộc giống như cách mà Huawei đã trang bị cho P30 Pro ống kính tele 5x, bằng cách xếp các các ống kính theo chiều dọc trong thân smartphone và sử dụng gương để quay góc ngắm ra bên ngoài. Đây là lần đầu tiên chúng ta thấy Apple chạy đua theo Huawei.
![]() |
| Bằng sáng chế mới của Apple |
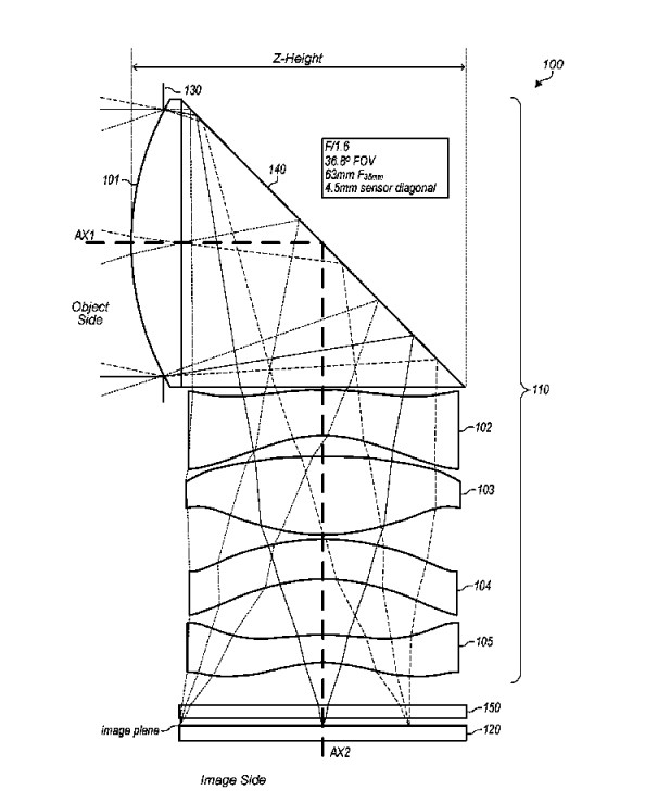
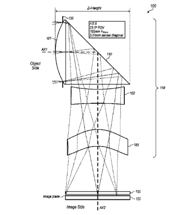
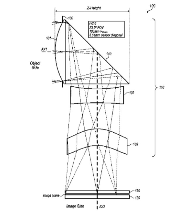
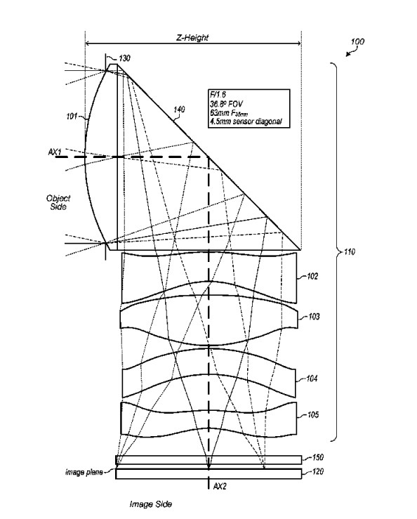
Cụ thể, bằng sáng chế thứ nhất mô tả hệ thống gồm 5 thấu kính gấp với 5 thấu kính khúc xạ. Bằng sáng chế thứ hai mô tả ống kính gồm 3 thấu kính khúc xạ.
Với phiên bản 5 thấu kính sẽ tạo ra ống kính 35mm, có độ dài tiêu cự tương đương 50 - 85mm phù hợp với ống kính góc rộng. Còn phiên bản 3 thấu kính sẽ tương đương với ống kính tele 35mm có độ dài tiêu cự từ 80 - 200mm. Nói cách khác, Apple có thể sử dụng thiết lập thấu kính xếp chồng ngang với gương như vậy để tạo ra hệ thống camera 'khủng' trên iPhone mà không làm mô-đun máy ảnh lồi ra thêm.
![]() |
| Bằng sáng chế mô tả ống kính gồm 3 thấu kính khúc xạ |
Đây có thể được xem là một nỗ lực của Apple trong việc cải thiện khả năng chụp ảnh của những chiếc iPhone thế hệ tiếp theo.
![]() |
| Hệ thống camera trên loạt iPhone 11, iPhone 11 Pro và 11 Pro Max |
Nhưng trên thực tế Apple có làm điều đó với iPhone mới, thậm chí gần nhất là iPhone 12 ra mắt năm sau, hay không thì còn tùy thuộc vào chiến lược phát triển sản phẩm của Táo khuyết.
Theo Vietnamnet
https://vietnamnet.vn/vn/cong-nghe/san-pham/iphone-12-se-duoc-trang-bi-camera-sieu-khung-576003.html


