close Đăng nhập

6 điểm bạn nên biết về iPhone có thể gập đôi của Apple

VietTimes -- Trong nhiều năm qua, các nhà sản xuất smartphone như Samsung và Lenovo đã hứa hẹn về điện thoại với màn hình hiển thị linh hoạt. Apple cuối cùng cũng tham tham gia vào cuộc đua này. Hãy cùng khám phá xem iPhone có thể gập của Apple sẽ sở hữu những tính năng thú vị gì nhé!

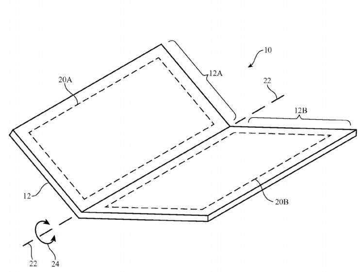
1. Bằng sáng chế cho thấy một concept iPhone có thể gập lại với một màn hình uốn cong

6 điểm bạn nên biết về iPhone có thể gập đôi của Apple ảnh 1

Bằng sáng chế của Apple từ năm 2016 cho thấy một chiếc iPhone có thể gập lại với một màn hình duy nhất có thể uốn cong, tương tự Samsung Galaxy X được đồn đại.

Axon M của ZTE được quảng cáo là điện thoại thông minh có thể gập đầu tiên dùng hai màn hình khác nhau kết hợp thành một màn hình.

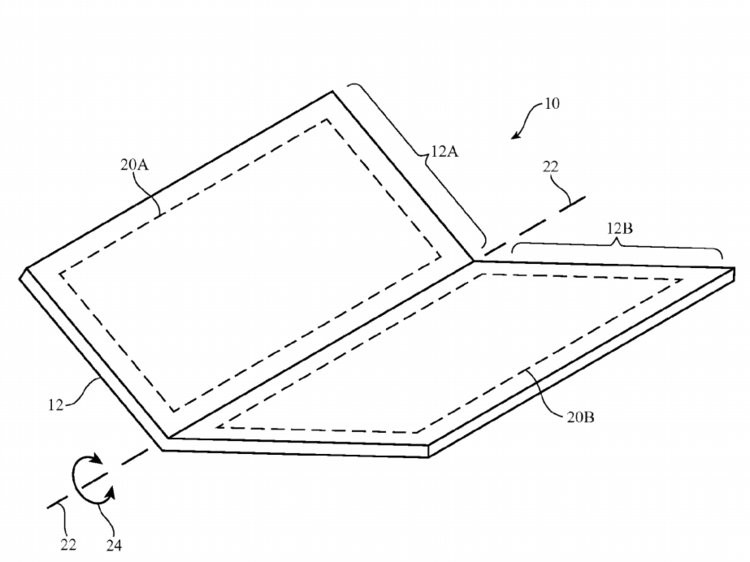
2. iPhone dạng gập có thể có hai chế độ uốn cong khác nhau

6 điểm bạn nên biết về iPhone có thể gập đôi của Apple ảnh 2

Một chế độ sẽ cho phép người dùng mở và đóng điện thoại giống như một cuốn sách, và một chế độ thứ hai, sử dụng cho dạng tĩnh, sẽ mở giống như Notepad. Trong trường hợp thứ hai, một nửa phần điện thoại có thể được sử dụng để chống đỡ nửa phần còn lại của điện thoại, do đó bạn có thể xem màn hình hiển thị trên một bảng phẳng.

3. iPhone dạng gập có thể có màn hình OLED

6 điểm bạn nên biết về iPhone có thể gập đôi của Apple ảnh 3

Tất cả các điện thoại của Apple trước iPhone X sử dụng màn hình LCD, dựa vào công nghệ LED Backlit và có tính linh hoạt tối thiểu. Mặt khác, màn hình OLED có độ uốn cong do các điểm ảnh hoạt động độc lập và không dựa vào nguồn ánh sáng khiến nó nhìn mỏng hơn.

Màn hình của iPhone X rất linh hoạt về mặt kỹ thuật - nó cong ở các cạnh để tạo ra viền mỏng nhất có thể. AMOLED, một loại màn hình OLED với tốc độ làm mới nhanh hơn, Samsung đã sử dụng kiểu màn hình này, do đó đây có thể sẽ là hướng đi của Apple.

4. Apple có thể hợp tác với LG

6 điểm bạn nên biết về iPhone có thể gập đôi của Apple ảnh 4

Trước đây, Apple đã từng làm việc với LG: Màn hình UltraFine 5K của công ty LG là một trong số ít các sản phẩm không phải thuộc về Apple mà bạn có thể mua trong các cửa hàng của Apple và LG chịu trách nhiệm sản xuất màn hình LCD của Apple trước khi Apple chuyển sang màn hình OLED của Samsung. Nhiều tin đồn cho rằng LG nhiều khả năng cũng sẽ chuyển sang điện thoại có thể gập.

Một cơ quan truyền thông Hàn Quốc đã thông báo rằng Apple và LG đang hợp tác với nhau trong dự án mới này. Điều này có ý nghĩa rằng chỉ có hai nhà sản xuất hiện đang sản xuất màn hình AMOLED linh hoạt, hãng còn lại là Samsung đã sản xuất dựa trên nguyên mẫu của nó từ năm 2010.

5. iPhone dạng gập sẽ bóng mượt hơn

6 điểm bạn nên biết về iPhone có thể gập đôi của Apple ảnh 5

Nhiều người cho rằng một chiếc điện thoại dạng gập có thể cồng kềnh hơn smartphone hiện đại vì nó sẽ có hai lớp màn hình và nhiều thành phần hơn một chiếc điện thoại thông thường. Cũng có lo ngại rằng sẽ có mép gấp theo thời gian, và ảnh hưởng đến giao diện và cảm nhận của sản phẩm.

Tuy nhiên, đây là một sản phẩm mà Apple dành khá nhiều đầu tư. Do vậy, chắc chắn Apple sẽ chăm chút hết mức cho “đứa con tinh thần” về mặt thiết kế.

6. Ít nhất hai năm nữa nó mới đến tay người dùng

Nhà phân tích Wamsi Mohan của Merrill Lynch cho biết, "Các cuộc kiểm tra của chúng tôi cũng cho thấy rằng Apple đang làm việc với các nhà cung cấp về một chiếc điện thoại có thể gập lại được (nhiều khả năng gập đôi như máy tính bảng) vào năm 2020".

Apple có thể đã đàm phán với các nhà cung cấp, nhưng các nhà phân tích cho rằng chiếc điện thoại có thể gập lại của Apple sẽ ra mắt ít nhất hai năm sau chiếc điện thoại gập của Samsung.

Bản thân Samsung vẫn chưa hoàn thiện nguyên mẫu, nên nó có thể thử nghiệm sản phẩm ở các khu vực nhỏ hơn trước khi đưa ra sản phẩm cuối cùng vào thị trường, vì vậy có thể chúng ta vẫn còn phải đợi một vài năm nữa... Khi các quảng cáo về điện thoại gập liên tục xuất hiện, áp lực sẽ ngày càng gia tăng đối với các nhà sản xuất. 

Đánh giá sản phẩm