Tính đến thời điểm này, Apple Watch 2, sản phẩm tiếp nối mẫu Apple Watch thế hệ đầu tiên vẫn được kỳ vọng sẽ sớm xuất hiện vào cuối năm 2016. Người hâm mộ Apple hẳn ai cũng đã nghe qua đâu đó thông tin cho rằng Apple Watch 2 sẽ trang bị cả camera Facetime phục vụ nhu cầu thoại có hình ảnh, cũng như tích hợp kết nối không dây nhằm giảm sự phụ thuộc vào iPhone bằng việc trang bị thêm một chip mới.
Nhiều khả năng đồn thổi cho rằng Apple sẽ trang bị camera cho chiếc đồng hồ thông minh Apple Watch 2 có khả năng sẽ thành hiện thực – vì nguồn tin thân cận với hãng này cho biết bằng sáng chế trong đó mô tả ý tưởng thêm mô-đun camera cho chiếc Apple Watch 2 đã được thông qua.
![]() |
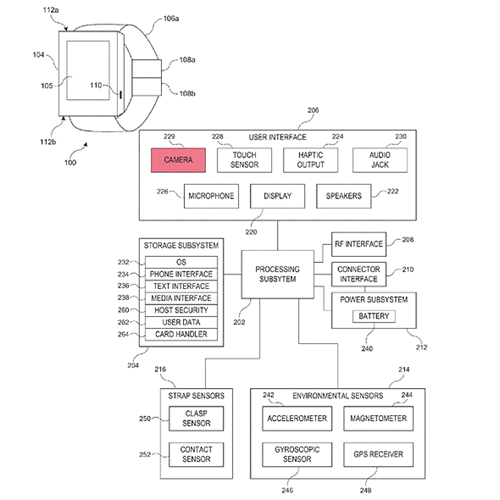
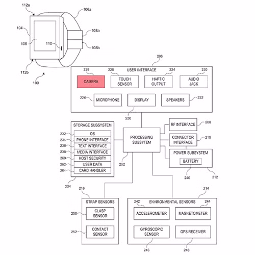
| Sơ đồ khối mô tả ý tưởng chiếc smartwatch thế hệ mới nhất mà Apple sắp ra mắt. |
Dựa vào thông tin trong bằng sáng chế của Apple, có thể dễ dàng nhận thấy tính năng chụp ảnh sẽ được Apple đóng gói sẵn ngay trong giao diện của chiếc đồng hồ thông minh tiếp nối mẫu Apple Watch từng giới thiệu. Với mô-đun camera tích hợp (chưa rõ vị trí chính xác trên thiết bị) Apple Watch 2 được kỳ vọng sẽ có khả năng chụp ảnh selfie cũng như khả năng quét mã vạch.
Như PC World Vietnam từng thông tin, Apple Watch 2 được kỳ vọng sẽ nâng cấp lên bộ xử lý thế hệ mới với tốc độ tính toán nhanh hơn nhiều so với người tiền nhiệm. Chiếc smartwatch thế hệ mới nhất của Apple cũng được cho là sẽ trang bị khe cắm SIM, kết nối 4G và có khả năng phân biệt tốt các cử chỉ của người dùng như vẫy tay, bắt tay hoặc thậm chí là chủ nhân thiết bị cúi đầu chào để truyền dữ liệu giữa 2 chiếc Apple Watch 2 với nhau.
Theo PC World VN
