close Đăng nhập

iPhone màn hình gập có thể tự động phát hiện nhiệt độ

Đã có tin đồn cho biết nhà sản xuất Apple đang hợp tác với LG Display để phát triển một chiếc điện thoại có thể gập lại. Bằng sáng chế gần đây của Apple cho chúng ta cái nhìn sâu sắc hơn về cách công ty sẽ cải thiện độ bền của màn hình gập.

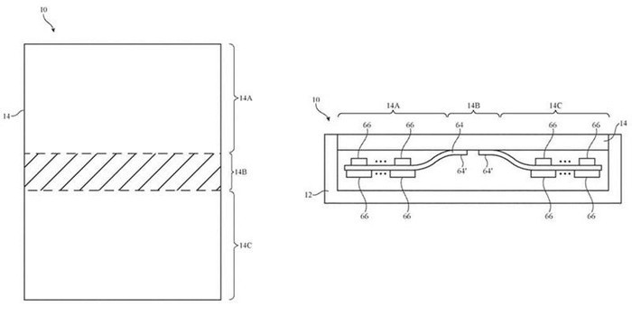
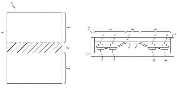
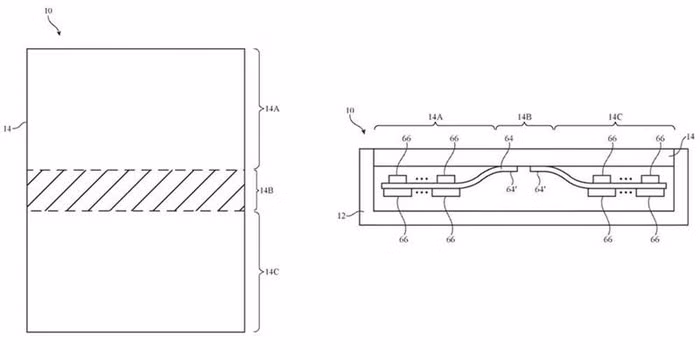
Theo đó, Apple gần đây đã nộp đơn lên Văn phòng Bằng sáng chế và Thương hiệu Hoa Kỳ (USPTO) cho một bằng sáng chế có tên là “Thiết bị điện tử dùng màn hình có thể gập lại”. Tuy nhiên, cũng giống như tất cả các bằng sáng chế khác, không có gì đảm bảo rằng nó sẽ trở thành hiện thực.

Trong bằng sáng chế này, Apple sẽ tích hợp một cảm biến nhiệt độ để phát hiện nhiệt độ của màn hình, điều này sẽ giúp điện thoại có thể đưa ra những cảnh báo, tăng độ bền của màn hình gập. Thật khó để nói liệu Apple có phát hành iPhone màn hình gập hay không, nhưng một nhà phân tích tại Bank of America - Merrill Lynch, nói rằng Apple không ra mắt iPhone màn hình gập trước năm 2020.

Hiện tại, Huawei đã ra mắt Mate X, Samsung đã trình làng Galaxy Fold, cả 2 đều là smartphone màn hình gập độc đáo. Ngoài ra, OPPO, Xiaomi, Motorola và TCL cũng đang phát triển smartphone màn hình gập.

Theo ICT News

https://ictnews.vn/the-gioi-so/di-dong/iphone-man-hinh-gap-co-the-tu-dong-phat-hien-nhiet-do-179709.ict
ICTNews

Tin công nghệ

Do Kwon (ảnh: Google)

Do Kwon đối mặt với bản án 40 năm tù

VietTimes – Do Kwon, người đồng sáng lập Terraform Labs, là kẻ chủ mưu đằng sau các loại tiền kỹ thuật số TerraUSD và Luna đã gây thiệt hại 40 tỉ USD cho rất nhiều nhà đầu tư.

Thể thao điện tử Việt Nam nhận huy chương vàng đầu tiên tại SEA Games 32.

Thể thao điện tử Việt Nam có huy chương vàng đầu tiên tại SEA Games 32

VietTimes – Chiều ngày 9/5, đội tuyển Thể thao điện tử Quốc gia Việt Nam đã vượt qua đội tuyển Thể thao điện tử Quốc gia Indonesia để đoạt ngôi quán quân tại nội dung đồng đội nam bộ môn Crossfire (Đột kích). Đây là huy chương vàng đầu tiên của thể thao điện tử Việt Nam tại SEA Games 32.