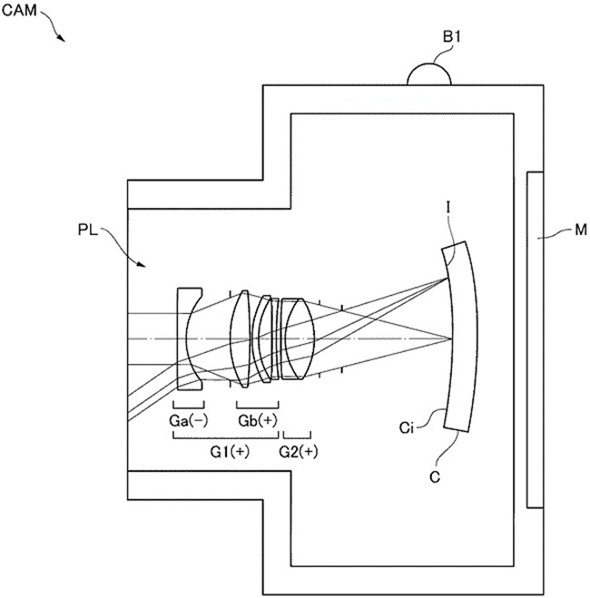
VietTimes - Mới đây, Nikon được cho là đã đăng ký bằng sáng chế cảm biến máy ảnh full-frame dạng cong. Đây là bước tiến đáng kể trong ngành công nghiệp sản xuất thiết bị nhiếp ảnh.
Nikon không tung ra sản phẩm DL18-50 với cảm biến 1-inch, liệu lý do có phải là hãng này chọn máy ảnh sử dụng cảm biến full-frame dạng cong thay thế cho máy ảnh sử dụng cảm biến 1 inch?
Thông tin trong bằng sáng chế không chỉ rõ loại máy ảnh nào của Nikon sẽ sử dụng loại cảm biến này, nhưng nhiều nguồn tin cho rằng Nikon sẽ trang bị cảm biến full-frame dạng cong cho dòng máy ảnh không gương lật của hãng, và loại cảm biến này sẽ tương thích với ống kính 35mm f/2.0 được thiết kế riêng.
Một nguồn tin khác cho rằng máy ảnh sử dụng cảm biến full-frame dạng cong mới này của Nikon sẽ không hỗ trợ thay đổi ống kính nhằm tránh việc phải thiết kế một loạt các ống kính khác nhau dành riêng cho loại cảm biến này.
Mặc dù đã đăng ký bằng sáng chế, song hiện tại dường như Nikon vẫn phải tiếp tục rất nhiều công việc nghiên cứu và phát triển cho cảm biến full-frame dạng cong. Nhưng một khi sản phẩm đầu tiên của Nikon sử dụng cảm biến này chính thức được giới thiệu, nó sẽ tạo ra một cuộc cách mạng thực sự trong ngành nhiếp ảnh.
Trong trường hợp cần khôi phục những dữ liệu quan trọng trên máy tính bị vô tình xóa nhầm hoặc bị mất do format ổ cứng, phần mềm chuyên nghiệp dưới đây sẽ hữu ích cho bạn.
VietTimes – Một trong những lợi ích chính mà người dùng nhận được khi sử dụng Android so với các hệ điều hành di động khác là khả năng tùy chỉnh trải nghiệm người dùng.
VietTimes – Find My Mobile là một trong những công cụ hữu hiệu nhất khi người dùng làm mất thiết bị của mình. Tuy nhiên, tính năng này vẫn chưa được người dùng để ý.
VietTimes – Không hiếm những clip thân mật của cặp đôi ở khách sạn đã bị phát tán trên web đen do họ bị cài camera ẩn. Vì thế 3 cách dưới đây có thể là hữu ích nếu bạn không muốn bị quay lén.
Ngoài cách mở khóa trên iPhone bằng cách nhập mật khẩu, sử dụng TouchID, FaceID thì với hệ điều hành iOS 14.6 mới đây, bạn có thể mở khóa bằng giọng nói.
Tính năng mới của Google cho phép người dưới 18 tuổi, cha mẹ hoặc người giám hộ yêu cầu xóa ảnh mình khỏi kết quả tìm kiếm, với một số ngoại lệ nhất định.
Chất lượng camera chỉ đóng một phần vai trò trong việc chụp những bức ảnh đẹp. Với những lưu ý dưới đây, bạn vẫn có thể tạo ra những bức ảnh tuyệt vời ngay cả với smartphone cũ.
Apple Watch là một trong những đồng hồ thông minh cao cấp nhất thị trường hiện nay, tuy nhiên, so với các đối thủ như Fitbit và Garmin, máy có thời lượng pin yếu hơn.
Sau một thời gian sử dụng, điện thoại Android thường có dấu hiệu chạy chậm đi. Dưới đây là những cách đơn giản có thể giúp khắc phục điều này trên smartphone Android.