close Đăng nhập

Việt Nam có thể mua 6 “sát thủ” săn ngầm P-3 Orion Mỹ (Video)

VietTimes -- Sau khi Mỹ quyết định dỡ bỏ lệnh cấm vận vũ khí, nhiều báo nước ngoài đưa ra các dẫn chứng cụ thể cho thấy Việt Nam có thể sẽ mua 6 chiếc P-3 Orion cũ Vì sao hải quân Việt Nam đặc biệt quan tâm đến P-3 và mua sắm máy bay tuần biển chống ngầm phục vụ mục đích gì?
 Việt Nam có thể mua 6 “sát thủ” săn ngầm P-3 Orion Mỹ (Video)

Hệ thống chống ngầm khu vực hoàn chỉnh theo quan điểm của Hải quân Mỹ bao gồm hệ thống IUSS mà thành phần chính là SOSUS, không quân chống ngầm, tàu ngầm đa nhiệm và các chiến hạm nổi chống ngầm.

Thông thường trong khu vực giám sát và kiểm soát tàu ngầm bằng hệ thống IUSS mà thành phần then chốt là hệ thống sonar thụ động  SOSUS, tầm xa phát hiện mục tiêu và không gian dự báo có tàu ngầm đối phương hoạt động rất lớn. Do đó, hệ thống IUSS chỉ có giá trị xác định khả năng có tàu ngầm hoạt động trong một khu vực nhất định nào đó, vùng nước này có thể có diện tích đến hàng nghìn km 2.

Do đó, khi hệ thống sonar thụ động SOSUS phát hiện ra khu vực được cho là có dấu hiệu tàu ngầm hoạt động. Để xác định chính xác vị trí và tọa độ của tàu ngầm, cần sử dụng các phương tiện chống ngầm có trang bị sonar chủ động và các phương tiện tìm kiếm hiện đại khác, được trang bị các thiết bị tìm kiếm chủ động và vũ khí trang bị tấn công tiêu diệt tàu ngầm.

Một trong những phương tiện chống ngầm được phương Tây và các chuyên gia quân sự đánh giá cao, đó là máy bay tuần biển chống ngầm P-3C Orion. Mặc dù các máy bay này đã qua hạn thời gian khai thác sử dụng, một số lượng lớn các máy bay tuần biển chống ngầm này vẫn hoạt động trong biên chế của nhiều nước, chờ đợi sự thay thế khả thi từ P-8 Poseidon.

Bảo vệ trực tiếp vùng nước ven biển và các khu vực đặc quyền kinh tế, các tuyến đường vận tải thương mại trên biển, các cụm tàu hải quân là máy bay tuần biển chống ngầm P-3 Orion. Trong lực lượng Hải quân Mỹ, các máy bay này nằm trong biên chế của lực lượng phòng thủ chống ngầm tầm xa – mỗi cụm tàu sân bay tấn công chủ lực thường được biên chế từ 1-2 P-3.

Các máy bay tuần biển chống ngầm, thực hiện nhiệm vụ bảo vệ một vùng nước cụ thể hoặc một mục tiêu ven biển, xét trên góc độ tầm bắn của tên lửa hành trình phóng từ tầu ngầm, có thể hoạt động trên khoảng cách từ 200-300 hải lý (370 - 550 km) so với tâm của mục tiêu cần bảo vệ. Các máy bay P-3 tiến hành các hoạt động trinh sát, tuần biển, tìm kiếm tàu ngầm theo những hướng có nhiều nguy cơ xuất hiện các tàu ngầm đối phương hoặc những vùng nước theo thông báo của hệ thống IUSS có sự hiện diện của tàu ngầm.

P-3 Orion thả phao sonar - sonobuoys tìm kiếm chống ngầm

Để tìm kiếm và phát hiện các tàu ngầm, máy bay P-3 thường sử dụng các phao sonar (sonobuoys - RSL), được thả hàng loạt từ máy bay tạo thành một rào cản ngăn chặn shut-off (4-8 phao sonar thủy âm - RSL), khoảng cách giữa các phao là 10-30 hải lý (1 dặm = 1,852 km) song song hoặc vuông góc với các hướng có nguy cơ tàu ngầm  (tùy thuộc vào hướng đe dọa và mục tiêu cần bảo vệ).

Khi phát hiện được mục tiêu, tàu ngầm sẽ bị tiêu diệt bằng quả ngư lôi tự dẫn chống ngầm ASW Mk44, MK46, Mk50, " Stingrey", v. v trên  khoảng cách không quá 1500 m. Các cuộc tấn công bất ngờ từ trên không, trên khoảng cách ngắn đến mục tiêu sẽ khả năng lẩn trốn và sử dụng các loại vũ khí phòng thủ chống ngư lôi chống ngầm.

Các phao sonar thông thường được các tàu hậu cần kỹ thuật thu nhặt và được sử dụng tiếp theo. Trong tình huống chiến tranh,  các máy bay chống ngầm P-3 sử dụng các phao sonar tự chìm hoặc tự hủy.

Р-3С "Orion" là máy bay tuần biển chống ngầm của Hải quân Mỹ. Máy bay được lắp đặt các hệ thống trang thiết bị tìm kiếm, phát hiện và xác định chính xác mục tiêu, đồng thời được trang bị nhiều vũ khí hiện đại chống ngầm.

Hệ thống cơ sở dữ liệu chiến thuật của P-3 Orion được kết nối trực tiếp với các trung tâm chống ngầm trong các khu vực và trên toàn thế giới, cập nhật thông tin tình huống và dự báo tình hình khu vực chiến trường dưới mặt nước.

Vũ khí trang bị của máy bay được lắp đặt trong khoang có thể tích đến  2 х 0,8 х 3,9 m có thể có đến 8 ngư lôi chống ngầm, bom chìm, bom thông thường, thủy lôi, tổng khối lượng vũ khí khoảng 3,2 tấn. Các vấu treo trên cánh cho phép treo đến 8 tên lửa chống tàu có điều khiển Haphoon, ngư lôi, bom chìm, thủy lôi.

Các bộ khí tài tìm kiếm bao gồm 90 bộ phao sonar các hệ thống như "Jezebel", "Julie", DIFAR, CASS, DIKASS và các loại khác, hệ thống tìm kiếm từ trường, hệ thống tìm kiếm radar, đài trinh sát tình báo radio, đài trinh sát hồng ngoại.

Trong tất cả các phương tiện truy tìm tàu ngầm, phao sonar (sonobuoys)  vẫn là công cụ tìm kiếm phát hiện tàu ngầm chủ chốt. Dự trữ phao sonar trên máy bay cho phép P-3 Orion có thể thực hiện nhiệm vụ tìm kiếm và theo dõi tàu ngầm trong xuốt tất cả thời gian tàu ngầm có thể có ở khu vực. Thời gian hoạt động liên tiếp của P-3 đạt đến 10 giờ, trên khoảng cách 1450 km, tiêu hao từ 6-8 phao sonar trong 1 giờ.

Hệ thống phao sonar "Jezebel" sử dụng sonar thụ động AN / SSQ-41B định hướng. Hệ thống phao sonar này có thể phát hiện các tàu ngầm trên khoảng cách lên đến 20 km hoặc hơn nữa.

Hệ thống phao sonar "Julie" cũng bao gồm các phao sonar thụ động, nhưng toàn bộ hệ thống hoạt động chủ động, sử dụng các nguồn âm thanh gây ra từ vụ nổ dưới nước.

Nếu các tàu ngầm đang nằm trong khu vực của các hiệu ứng âm thanh phát ra từ vụ nổ, các tín hiệu thủy âm phản xạ từ tàu ngầm sẽ lan truyền đến phao sonar thụ động. Sau đó, các tín hiệu truyền qua kênh radio đến máy bay, được máy tính xử lý và hiển thị trên màn hình của trắc thủ. Hệ thống "Julie" cho phép phát hiện các tàu ngầm có độ ồn thấp ở khoảng cách lên tới 8 km.

Hệ thống DIFAR có sử dụng các phao sonar (sonobuoys) thụ động định hướng AN / SSQ-53. Anten thủy âm được hạ xuống độ sâu rất lớn (300 m). Thời gian hoạt động của phao lên đến 8 giờ. Phạm vi phát hiện được tàu ngầm lên đến 25 km. Hệ thống DIFAR được thiết kế để phát hiện tàu ngầm trong điều kiện nhiễu xạ âm thanh: trong vùng nước có hoạt động giao thông của các tàu vận tải dân sự và trong vùng biển động mạnh.

  Phao sonar AN / SSQ-62 thuộc hệ thống DIKASS là loại phao sonar chủ động định hướng và được điều khiển bằng vô tuyến từ máy bay. Đặc điểm này cho phép có thể  phát hiện được tàu ngầm và xác định vị trí của mục tiêu với số lượng phao ít hơn.

Hệ thống KASS sử dụng các phao sonar chủ động AN / SSQ-50 không định hướng, được kích hoạt từ các trắc thủ điều khiển trên máy bay. Thời gian hoạt động của các phao chủ động khi bức xạ sóng âm là từ 30 đến 60 phút.    

Hệ thống phát hiện từ trường  AN/ASQ-81 là một trong những hệ thống chủ chốt tìm kiếm tàu ngầm không sử dụng các phao sonar. Hệ thống hoạt động theo nguyên tắc sự biến động dị thường của từ trường, được tạo ra bởi khối kim loại khổng lồ của tàu ngầm. tầm xa phát hiện tàu ngầm của đầu dò từ trường phụ thuộc vào lượng giãn nước của tàu ngầm và các đặc điểm từ tính, độ sâu của đầu dò từ trường, độ cao hoạt động của máy bay. Độ cao trung bình trong trường hợp sử dụng hệ thống dò từ trường là 700-1000 m. Ưu điểm chiến thuật của đầu dò và đo độ biến thiên từ tường là khả năng sử dụng thiết bị này trong điều kiện đối phương sử dụng các kỹ thuật gây nhiễu hoặc ngụy trang thủy âm.

Đài trinh sát hồng ngoại AN/AAS-36 phát hiện được tàu ngầm trong trạng thái ngầm hoăc nổi theo bức xạ hồng ngoại phát ra từ thân tàu và từ vệt nước đuôi tàu. Khi máy bay bay ở độ cao từ 100 – 1000 m, tầm xa phát hiện tàu ngầm theo dấu bọt nước đuôi tàu đến 20 km. Nhưng thông số này phụ thuộc vào điều kiện thủy văn môi trường, tốc độ và độ sâu hoạt động của tàu ngầm.

Đài radar AN/APS-115B cũng có thể cho phép phát hiện được các tàu ngầm khi đang sử dụng kính tiềm vọng hoặc anten thông tin liên lạc, đang hoạt động ở chế độ thu tín hiệu trên khoảng cách đến 15 km.

Đài trinh sát âm thanh AN/ALQ-78 cho phép phát hiện tàu ngầm, đang thực hiện chế độ trao đổi thông tin trên khoảng cách đến 600. Độ chính xác vị trí của tàu ngầm theo dấu vết phát xung tín hiệu thông tin khoảng từ 1-50 km.    

Tính năng kỹ thuật chung của Р-3С "Orion":

Kích thước chung: Dài: 35,61m; Cao: 10,27m; Sải cánh: 30,37m;

Khối lượng: Tải trọng cất cánh cực đại là 64,4 tấn, tải trọng rỗng: 27,9

Khối lượng vũ khí trang bị: 9 tấn, tốc độ bay max là 760 km/h, trần bay thực tế 8,6 km, bán kính hoạt động khoảng từ 3100 – 4000 km.

Thời gian tuần biển trên khoảng cách đến 2500 km là 3 giờ, trên khoảng cách đến 1850 km là 8 giờ.

Trong khuôn  khổ chương trình hiện đại hóa “Orion -2000”, đã nâng cấp các máy bay tuần biển chống ngầm lên phiên bản Р-3С. Hoàn thành chương trình này với giải pháp tăng cường những tính năng kỹ thuật bay và khai thác sử dụng, P-3C đã gia tăng bán kính hoạt động tác chiến từ 2500 km đến 3300 km, thời gian tuần biển trong một khu vực đến 5 giờ trên khoảng cách đến 2500 km. Khối lượng vũ khí, khí tài trong khoang chiến đấu lên đến 4500 kg, tốc độ hành trình khoảng 750 km/h, trần bay đạt 12,2 km.

Máy bay tuần biển chống ngầm Р-3С "Orion" có thể tiến hành các hoạt động chống ngầm không chỉ trong các hoạt động phòng thủ biển đảo hoặc các vùng nước cần được bảo vệ. Phụ thuộc vào khối lượng thông tin được cung cấp về vị trí của tàu ngầm, có thể tiến hành các hoạt động tìm kiếm, tuần tra thám sát tàu ngầm ở khu vực xuất phát, tiến hành các hoạt động tìm kiếm đánh chặn và theo dõi tuyến đường hành quân của tàu ngầm.

Những cơ sở dữ liệu của IUSS là những thông tin quan trọng giúp P-3C Orion có thể dự tính được quỹ đạo hải trình, lộ trình xuất kích và vùng nước mà các tàu ngầm đối phương có thể đi qua để lựa chọn vị trí tối ưu đánh chặn và theo dõi tàu ngầm.

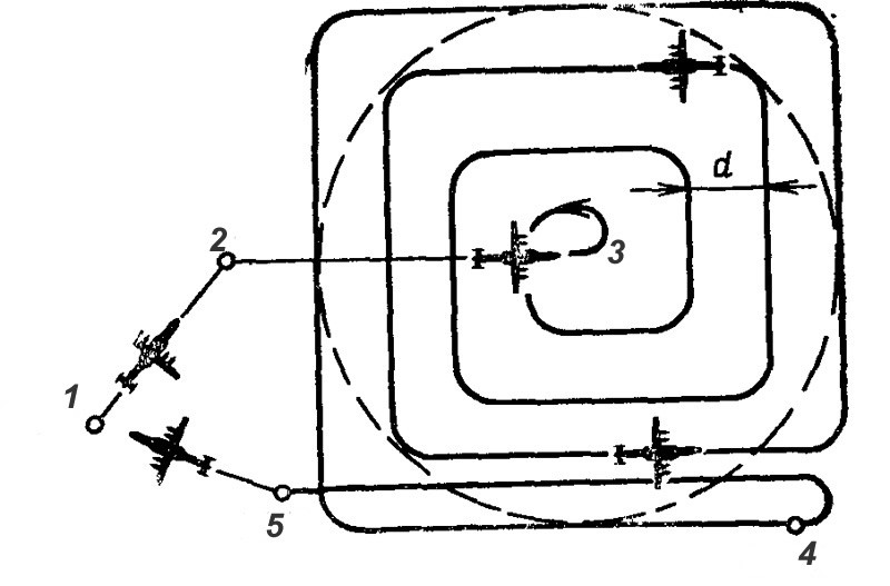
 Tìm kiếm ở khu vực định trước là phương pháp tìm kiếm trong trường hợp vị trí của tàu ngầm không rõ ràng, nhưng có cơ sở để xác định tàu đang nằm trong giới hạn khu vực xác định. Đối với một máy bay P-3, khu vực truy tìm có thể nằm trong khoảng 90 x 60 hải lý. Khi sử dụng phương pháp truy tìm bằng từ trường, máy bay bay ở độ cao 150 – 1000 m và truy tìm tàu ngầm bằng phương pháp bay lần lượt trong khu vực.

Phương pháp truy tìm tàu ngầm của máy bay chống ngầm P-3

Trong trường hợp đã phát hiện tàu ngầm ở trong khu vực tìm kiếm. Máy bay tuần biển chống ngầm sẽ sử dụng các phao sonar. Trước khi xác định thả pháo sonar đơn chiếc hay theo loạt, P-3 phải thả một phao thu thập thông tin môi trường biển Batey trên khu vực truy tìm, cho phép xác định nhiệt độ nước biển khi thay đổi độ sâu, xác định nồng độ muối biển.

Trắc thủ trên máy bay sẽ trên cơ sở này lựa chon độ sâu tối ưu để thả microphone thủy âm và sử dụng loại phao sonar nào. Phao được thả đơn chiếc hay theo loạt, đến 10 phao trong một loạt. Khi đó máy bay bay ở độ cao từ 50-1000 m, tốc độ máy bay là 300-600 km/h.

Các phương pháp thả phao thông dụng là theo đường thẳng (một hoặc nhiều đường) và theo hình vòng tròn. Trong trường hợp thả phao sonar theo đường thẳng, phao sẽ được thả liên tiếp thành 1 hoặc nhiều dãy pháo. Số lượng phao thả khoảng từ 8 – 16 trên khoảng cách từ 10 – 30 hải lý. Sau khi thả xong phao máy bay bay ra xa trên khoảng cách đến 60 hải lý cách trận địa phao sonar và hoạt động liên tục trong khu vực từ từ 1-2 giờ, bắt đầu thu thập thông tin truy tìm tàu ngầm

Thông tin nhận được từ phao sonar, sẽ được xử lý tín hiệu và truyền vào máy tính trên máy bay, các phần mềm ứng dụng sẽ tình toàn hướng đi của tàu ngầm, tốc độ, những thông tin này được truyển tải lên màn hình máy tính. Máy tính sẽ xác định vị trí của tàu ngầm và những thông số về tốc độ, dự kiến hướng hải hành.

Để xác định chính xác hơn vị trí của tàu ngầm, P-3 có thể sử dụng các loại phao sonar chủ động, tương tự như hệ thống "Julie". Sau khi phát hiện tàu ngầm, máy bay sẽ thiết lập liên kết từ trường với tàu ngầm để tiếp tục theo dõi hoặc có kế hoạch tiêu diệt trong điều kiện xung đột tiềm năng.

 Điểm khởi đầu nhiệm vụ truy tìm tàu ngầm được xác định là phát hiện sơ bộ tàu ngầm của hệ thống SOSUS cố định hoặc hệ thống sonar SURTASS di động.

Nhận được thông tin xác định có tàu ngầm, máy bay tuần thám chống ngầm P-3 sẽ xuất kích đến khu vực tìm kiếm. Diện tích của vùng tìm kiếm phụ thuộc vào thời điểm phát hiện tàu ngầm, thời gian các P-3 bay đến và tốc độ của tàu ngầm đang bị săn lùng.   

Phương pháp này được coi là hiệu quả nếu khu vực tìm kếm có bán kính nhỏ hơn 50 hải lý. Khi đến khu vực tìm kiếm, máy bay P-3 tiến hành hoạt động đo các thông số thủy văn môi trường và bắt đầu thả phao sonar. Phương pháp thả phao được lựa chọn thường là theo hình vòng tròn từ 4 đến 8 phao sonar. Máy bay sẽ thả 1 phao ở tâm vòng tròn và các phao còn lại thả xung quanh trên khoảng cách từ 20 – 30 hải lý. Máy bay hoạt động trong khu vực tìm kiếm trên độ cao từ 1000 m đến 4000 m trong thời gian khoảng từ 2-4 giờ.

Phương pháp đánh chặn tàu ngầm cũng xuất phát từ thông tin của hệ thống SOSUS hoặc hệ thống sonar SURTASS di động, xác định sơ bộ vị trí tàu ngầm, việc tiến hành phương pháp đánh chặn này thông thường được sử dụng trong điều kiện biển hẹp hoặc tàu ngầm đang chuyển hướng. Trong tình huống này P-3 sẽ dựng barie bằng các phao sonar thụ động, sử dụng bộ khí tài đo từ trường, đài giám sát quang hồng ngoại và các phương tiện khác.

Trong tình huống đánh chặn tàu ngầm đối phương, barie được tổ chức có độ dài khoảng từ 20 – 40 hải lý trên không gian hình dẻ quạt với góc mở từ 60 – 80 độ. Kiểm soát các phao sonar được dải trên khoảng cách từ 20 – 30 hải lý. Khi các phao sonar xác định vị trí của tàu ngầm, P-3 sẽ kích hoạt hệ thống theo dõi từ trường, máy bay bay ở độ cao từ 100 – 150 m so với mặt nước biển và theo dõi tàu ngầm. Phương pháp đánh chặn triển khai theo hai hướng đối xứng nhau trên tuyến hải hành của tàu ngầm. Máy bay sẽ truy quét lần lượt vị trí của tàu ngầm.

Thông thường hải quân Mỹ sẽ tiến hành hai barie phao sonar. Một tuyến phao được rải cắt ngang hướng cơ động, một tuyến phao khác được rải dọc theo tuyến đường di chuyển của tàu ngầm.

Mỗi hàng barie  được đặc trưng bởi sơ đồ thả phao, số lượng phao cần dùng, điểm thả phao ban đầu, khoảng cách giữa các phao, tuyến đường mà tàu ngầm phải di chuyển, những chi tiết cụ thể trong chiến thuật cơ động tìm kiếm, xác định bằng tính chất đặc trưng của môi trường thực tế trên biển.

Trong trường hợp tốt nhất, mỗi barie được cấu thành từ 4 phao sonar. Trong điều kiện có những thay đổi bất thường như tàu ngầm cơ động tránh truy tìm, chuyển hướng, tăng tốc, máy bay sẽ thả từ 5-6 phao sonar cắt ngang tuyến đường dự kiến của tàu ngầm.

Tất cả các nước có lực lượng hải quân mạnh đều quan tâm theo dõi các hoạt động của từng tàu ngầm đối phương nhằm xác định khu vực tàu ngầm hoạt động, tuyến đường triển khai lực lượng, hành lang tuần tiễu sẵn sàng chiến đấu của tàu ngầm đối phương, chủng loại tàu ngầm, số lượng tàu ngầm và vị trí của chúng, hành lang cơ động di chuyển ngay trong thời bình để sẵn sàng tiêu diệt hạm đội tàu ngầm đối phương khi chiến tranh xảy ra.

Mua sắm P-3 Orion đã qua sử dụng, hải quân Việt Nam quyết định sử dụng 6 chiếc P-3 Orion vào nhiệm vụ tuần biển chống ngầm, khai thác sử dụng nguồn tư liệu nhiều thập kỷ Mỹ đã theo dõi các tàu ngầm Nga và Trung Quốc trên biển Đông từ SOSUS và SURTASS trước khi có điều kiện để mua sắm các phương tiện chống ngầm hiện đại hơn.

Có được P-3 Orion, Hải quân Việt Nam có thể sử dụng các nguồn tài nguyên thông tin của Mỹ ít nhất trong khu vực biển Đông thông qua việc sử dụng P-3 Orion, từ đó sẽ lên được kế hoạch và dự kiến tiến hành các hoạt động tuần tra, truy quét và theo dõi tàu ngầm đối phương. Trong tình huống xảy ra xung đột vũ trang, Hải quân Việt Nam có thể sử dụng các thông tin tình báo chống ngầm của Mỹ và Nhật Bản tạo dựng ưu thế trên mặt trận chống ngầm, ngăn chặn các nguy cơ từ tàu ngầm địch và sử dụng hiệu quả tàu Kilo Việt Nam.

Sĩ quan Hải quân Philiphines và Úc thực hiện chuyến tuần biển trên P-3C Orion của Hải quân Úc

TTB

Phân tích